今日(4月13日)A股共34只个股发生大宗交易,总成交17.51亿元,其中海光信息、宁德时代、泛微网络成交额居前,成交额依次为3.96亿元、3.62亿元、1.8亿元。成交价方面上海证券配资服务平台,共6只股票平价成交,4只股票溢价成交,24只股票折价成交;亚香股份、无线传媒、南微医学溢价率居前,溢价率依次为12.88%、9.48%、1.7%;同力股份、立高食品、首航新能折价率居前,折价率依次为29.31%、18.91%、12%。机构专用席位买入额排名:宁德时代(3.62亿元)、泛微网络(1.8亿元)、北京君正(1.75亿元)、海光信息(8899.98万元)、首航新能(2925.02万元)、特发服务(1099.85万元)、海天瑞声(439.6万元)、东方财富(300.15万元)。机构专用席位卖出额排名:宁德时代(3.62亿元)、沃尔核材(779.03万元)、东方财富(300.15万元)。
配资炒股举报 相关阅读

初灵信息今日20%涨停,3家机构专用席位净买入1.14亿元
初灵信息今日20%涨停,3家机构专用席位净买入1.14亿元
元股证券:ygzq.hk 17 2025-12-04 16:29

和而泰今日涨停,3家机构专用席位净买入3.30亿元
和而泰今日涨停,3家机构专用席位净买入3.30亿元

2025-12-04 16:26

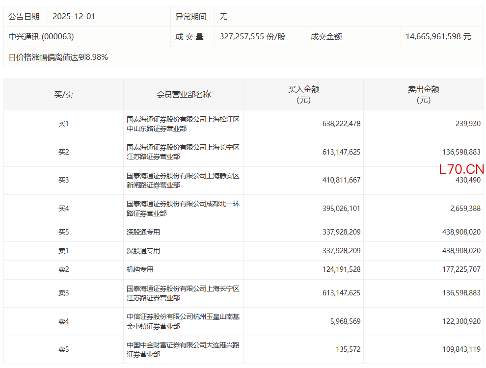
中兴通讯今日涨停,国泰海通上海中山东路大额买入
中兴通讯今日涨停,国泰海通上海中山东路大额买入
17 2025-12-01 16:28

航天发展今日跌10.00% 陈小群席位净卖出2.78亿元
航天发展今日跌10.00% 陈小群席位净卖出2.78亿元
2025-11-26 16:44

一周主力丨电力设备板块遭抛售超500亿元 凯美特气获加仓居首上海证券配资服务平台
一周主力丨电力设备板块遭抛售超500亿元 凯美特气获加仓居首
2025-11-23 16:29 一财最热 点击关闭
股票配资开户送礼金提示:本文来自互联网,不代表本网站观点。